Délateur.
“…Dispositif de blocage d’un pêne de serrure sous l’effet d’une effraction…”
Martin Malcourant Novembre 2022
Suivant les illustrations de la demande de brevet suivante :
EP 0 969 168 A1
Date de publication:
05.01.2000 Bulletin 2000/01
Numéro de dépôt: 99401589.9
Date de dépôt: 25.06.1999
Demandeur: Fichet Serrurerie Batiment — F.S.B.
80460 Oust-Marest (FR)
Inventeur: Riberolles, Benoît 76260 Mancheville (FR)
Le mot “Fichet” est souvent suivi d’une question précise et intéressée, l’imaginaire et le réel se mélangent souvent lorsqu’il s’agit d’évoquer cette marque bien connue et souvent redoutée par les serruriers des villes… À juste titre !
Loin de moi l’idée de livrer une recette quant à l’action précise et aux possibilités de bypass d’un type de sureté, je voulais tout simplement partager avec vous quelques illustrations et photographies d’un mécanisme particulier et peu commun. L’absence d’informations précises est volontaire.
Depuis l’avènement des serrures moderne (période Chubb) les inventeurs ont cherché à moderniser les mécanismes de verrouillage qui ont traversé les âges et l’Histoire afin de les rendre plus résistants face à l’effraction et les tentatives de manipulation (crochetage, bypass,…)
Ma fascination pour les serrures m’a amené à perdre mon œil sur différents mécanismes dits “délateurs” ou plus précisément “pare-attaque” de différentes marques.
La notion de “délateur” que l’on utilise habituellement ne se prête pas facilement au mécanisme qui suit : en cas d’effraction, le boitier de serrure se retrouve entièrement bloqué et il faudra faire appel à un serrurier qualifié pour “rattraper” cette situation.
Je fais allusion ici au mécanisme de Chubb, “Detector Lock”, qui avait pour atout d’indiquer à l’utilisateur légitime de la serrure que celle-ci avait été manipulée par une personne mal intentionnée (sans pour autant l’empêcher d’utiliser son accès, il suffisait alors de faire un reset du mécanisme). Nous pouvons dès lors considérer l’aspect pare-attaque de la pièce dont il est question dans la suite de ce billet
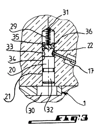
Le bloc du délateur usiné plus que probablement par coulage.
Divers éléments anti-perçage sont inclus et sertis dans l’ensemble. Le délateur n’est composé que de 4 pièces lorsqu’il est armé, mais la simplicité fait l’efficacité.
Le piston de blocage est usiné avec 2 encoches.
L’une est biseautée, la fonction est purement liée à l’action de son mouvement.
L’autre est en réalité la sûreté qui permet à la porte d’être transportée et mise en service sans craindre de bloquer le mécanisme.
C’est dans celle-ci que se loge une goupille de maintien qui doit être enlevée lors du montage.
La plaque avec le doigt palpeur muni d’un ressort à faible compression assure le maintien du piston de blocage au sein du bloc délateur. Il me manquerait le ressort de pression du piston de blocage. Dans le brevet il est fait mention d’un ressort “fort”.
La représentation du bloc délateur surplombant le dormant (on reconnaît la silhouette Fichet)
Le délateur en position de blocage