Cylindre Fichet 787M

Martin Malcourant décembre 2022

Le nouveau cylindre de chez Fichet est arrivé : juste à temps pour entamer 2023

Pour les plus attentifs, la référence annonce déjà la couleur : un reboot du modèle 787Z ?!

Exactement !

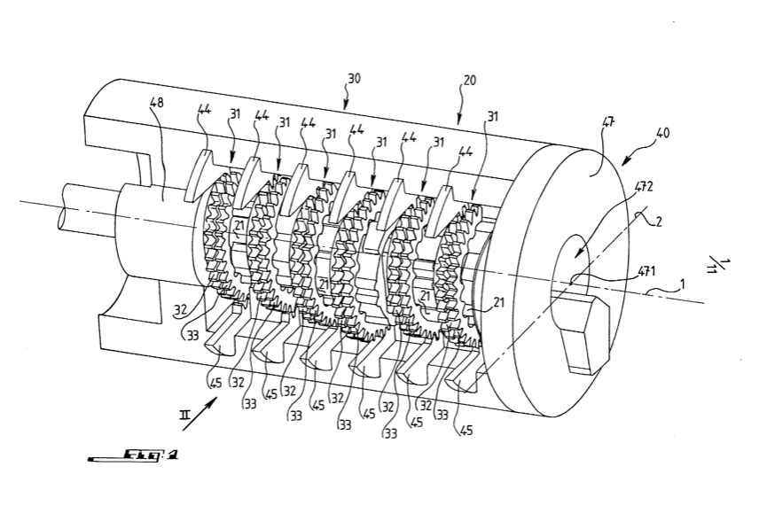
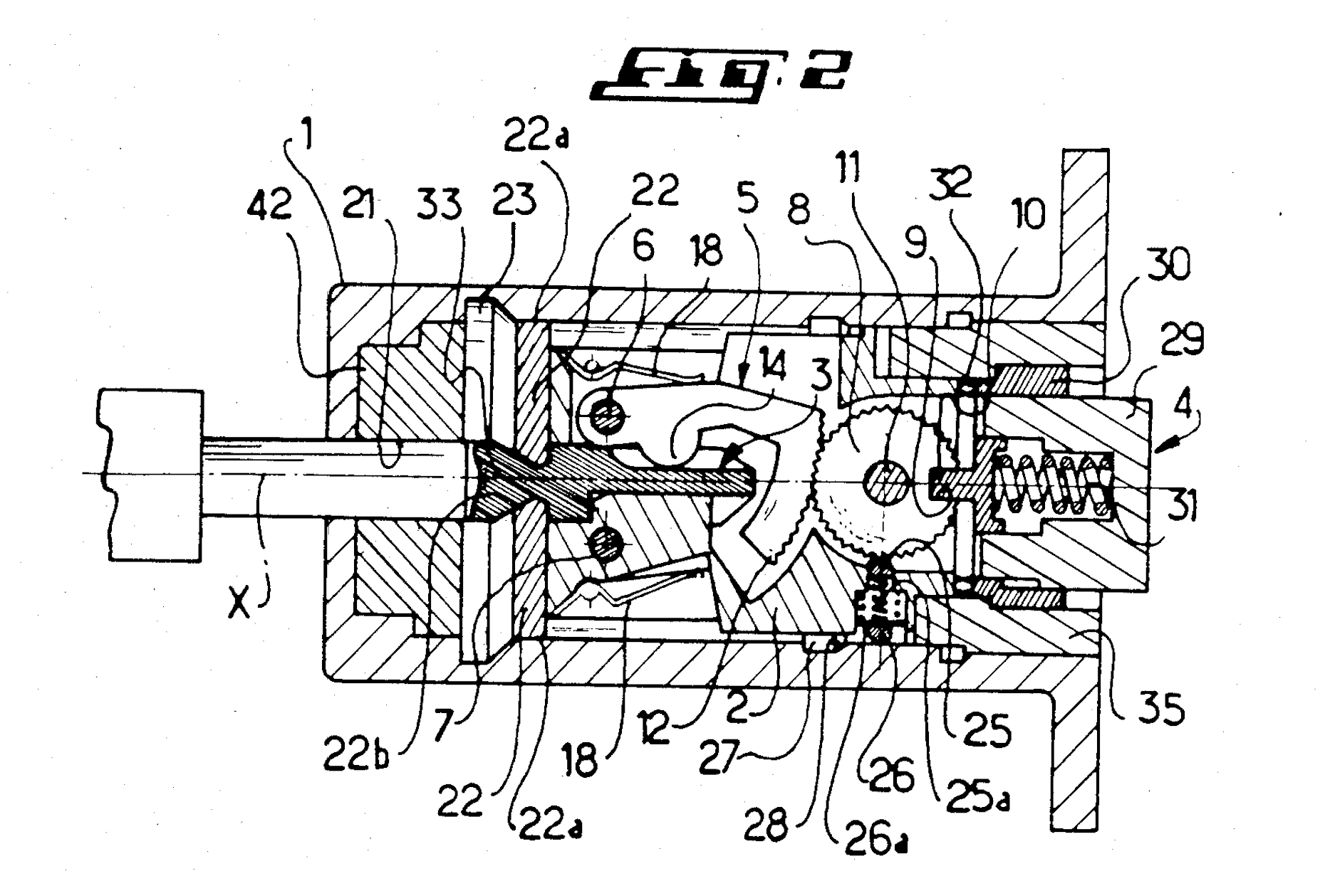
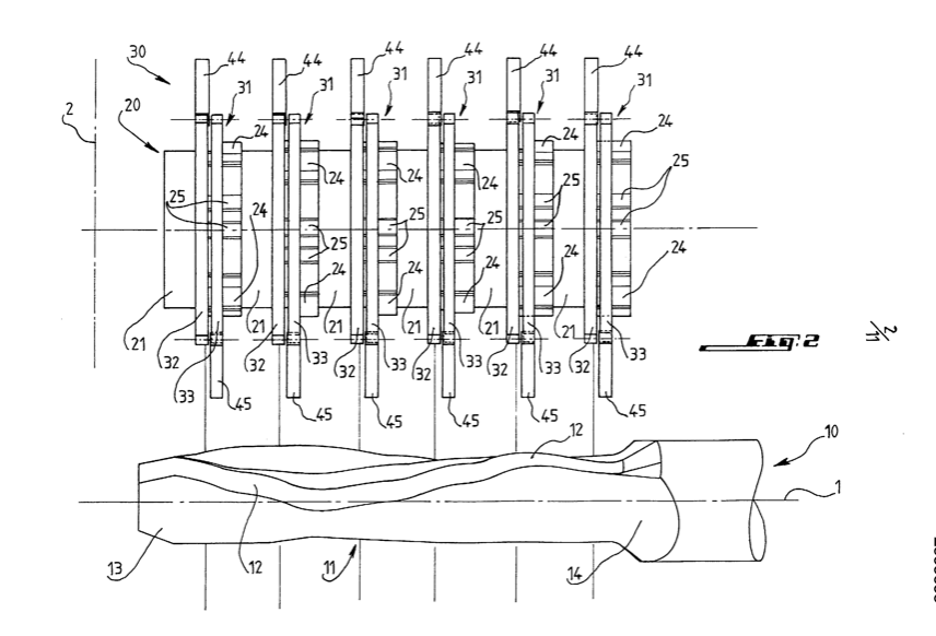
Retournons quelques années en arrière, 1986 pour être précis, année de dépôt de brevet 4,601,184 par Monsieur Gérard H.D.Doinel

L’invention consiste en un cylindre composé de 10 garnitures qui entrent en contact avec la clef qui, lorsqu’elle est enfoncée permet l’alignement de roues dentées afin de faire correspondre la clef à la combinaison attendue du cylindre. (dans la pratique ce sont 8 garnitures qui sont employées dans les cylindres commercialisés sous l’appellation 787S)

Une partie du mécanisme comprend 2 volets mobiles qui limitent l’utilisation et l’introduction d’outils de crochetage car s’ils devaient être écartés plus que la dimension de la clef, ceux-ci empêchent la rotation.

Lorsque les conditions requises sont rassemblées, le rotor se déplace de manière longitudinale pour permettre un embrayage et une rotation au sein de la lanterne de la serrure.

Ce cylindre équipe à ce jour des portes de sécurité, serrure de sécurité chez un bon nombre de clients du réseau Point Fort Fichet.

Difficile de ne pas parler de son remplaçant : le F3D qui proposait un design radicalement différent. (Illustrations pour mémoire ci dessous.)

Brevet : FR2833638

le mécanisme dans son stator.

La clef Fichet F3D

Les puristes auraient probablement souhaité un design à mi-chemin entre les 2 monstres de technologies que représentent les 2 inventions mais Fichet a finalement opté pour la sobriété en proposant une évolution du 787z

Le même nombre de garnitures (8) et le même principe de fonctionnement.

La clef à l’introduction.

L’évolution se situe probablement dans les matériaux (anti-perçage) mais également de manière plus discrète dans un élément de contrôle avec insert magnétique intégré à la clef.

En jaune les éléments relatifs au blocage magnétique

Rien de nouveau d’un point de vue technique, néanmoins c’est la réponse la plus immédiate à la problématique des reproductions non autorisées des clefs via impression 3D.

Il va sans dire que la guerre des brevets reste toujours aussi importante dans le secteur de la sécurité physique.

Je suis pressé d’avoir le cylindre entre les mains afin d’en apprendre un peu plus à son sujet.

Précédent
Précédent

Serrure Bever “Turrus”

Suivant
Suivant

Délateur.